微信掃一掃
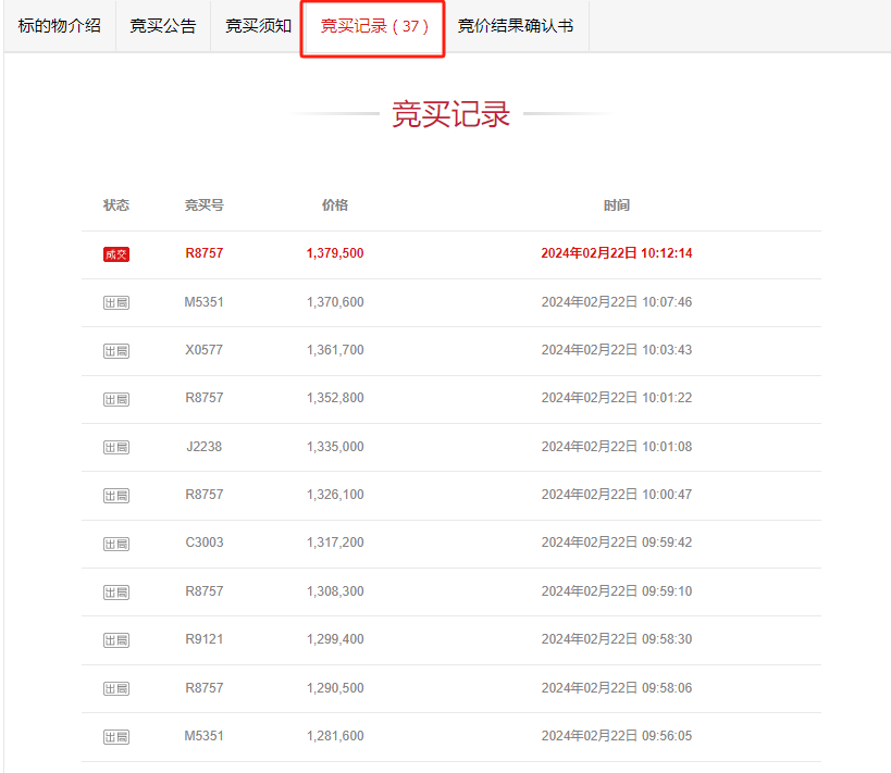
城南一法拍房,89萬起拍,12人報名,37次競價,137.95萬成交,遠超市場價



來源:阿里法拍
嵊州生活網友情轉載,版權歸原作者所有,如有標注作者及出處有誤、侵權煩請告知,我們會立即刪除并表示歉意。

2019-2020 shengzhouw.com All Right Reserved 《嵊州生活網》版權所有
電子郵件:349829937@qq.com 法律顧問:浙江計然律師事務所 趙士建(律師)
浙公網安備 33068302000729號 信息產業(yè)部備案/許可證編號:浙ICP備19052336號-3